|
產品名稱:CS45H,CS15H倒置桶式蒸汽疏水閥
產品型號:CS45H、CS15H
產品口徑:DN15~DN65
產品壓力:1.6MPa~4.0MPa
產品材質:鑄鋼、不銹鋼
產品口徑:DN15~DN65
產品壓力:1.6MPa~4.0MPa
產品材質:鑄鋼、不銹鋼
產品名稱:倒置桶式蒸汽疏水閥 產品型號:CS45H、CS15H 公稱通徑:DN15~DN65結構形式:倒吊桶式公稱壓力:1.6MPa~4.0MPa連接方式:法蘭、內螺紋適用溫度:-29ºC~
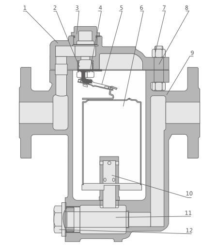
產品說明CS45H、CS15H倒置桶式蒸汽疏水閥的開啟和關閉是根據凝結水和蒸汽的密度并來動作的,其動作準確,可靠。用于石油、化工、電力、紡織印染、醫療、醫藥等行業的各種蒸汽加熱設備、蒸汽管網和低過熱蒸汽工況。它能迅速地排除凝結水,有效地阻止蒸汽泄漏。產品特點1、即能連續又能間歇排放飽和凝結水加熱設備不會有水積聚,從而獲得最高的熱效率。2、耐水擊倒吊桶結構不會因水擊而遭到損壞,使用壽命長。 3、排空氣性能好倒吊桶上設有溢出排氣孔,可有效地預防蒸汽氣鎖和空氣氣堵。 4、允許背壓高背壓率達85%。 5、維修方便內部零件采用不銹鋼制造,均安裝在閥蓋上,并設有過濾網裝置,日常維護方便。 產品圖![]() 排量圖![]() 結構分析圖![]() 主要零部件
外形結構圖![]() 主要外形尺寸
主要外形尺寸
主要外形尺寸
主要外形尺寸
主要外形尺寸
主要外形尺寸
|





關注官方微信