|
產品名稱:HRW3,FRK3高溫高壓圓盤式疏水閥
產品型號:HRW3、FRK3
產品口徑:DN15~DN50
產品壓力:10.0MPa~16.0MPa
產品材質:鉻鉬鋼、不銹鋼
產品口徑:DN15~DN50
產品壓力:10.0MPa~16.0MPa
產品材質:鉻鉬鋼、不銹鋼
產品名稱:高溫高壓圓盤式疏水閥 產品型號:HRW3、FRK3 公稱通徑:DN15~DN50結構形式:圓盤式公稱壓力:10.0MPa~16.0MPa連接方式:法蘭、內螺紋、承插焊適用溫度:-29&ord
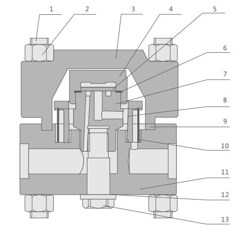
產品說明HRW3、FRK3高溫高壓圓盤式疏水閥采用鍛打鉻鉬礬鋼,耐腐蝕,耐磨損,耐高溫、高壓,持久耐用。適用于飽和蒸汽和高溫高壓過熱蒸汽工況,在整個工作壓力范圍內無需調整。有內置過濾網,并在管路上能更換零件,維擴簡便。主要用于高溫高壓蒸汽主管線,使用壓力為0.5~16MPa的飽和蒸汽和過熱蒸汽工況。工作原理HRW3、FRK3高溫高壓圓盤式疏水閥是利用蒸汽和凝結水通過閥孔時流速和體積產生變化的不同熱力學性質,驅動閥片開關閥座孔,從而達到阻汽排水。產品圖![]() 排量圖![]() 注:1、圖中曲線標注的編號(4,8,12等)代表相應工作壓差下的排量及閥座代號 2、壓差是指疏水閥的入口端與出口端的壓力差 結構分析圖![]() 主要零部件
外形結構圖![]() 主要外形尺寸
主要外形尺寸
主要外形尺寸
主要外形尺寸
|





關注官方微信