|
產品名稱:CS69H,CS19H圓盤式蒸汽疏水閥
產品型號:CS69H、CS19H
產品口徑:DN15~DN150
產品壓力:1.6MPa~2.5MPa~4.0MPa~6.4MPa
產品材質:鑄鋼、不銹鋼
產品口徑:DN15~DN150
產品壓力:1.6MPa~2.5MPa~4.0MPa~6.4MPa
產品材質:鑄鋼、不銹鋼
產品名稱:圓盤式蒸汽疏水閥 產品型號:CS69H、CS19H 公稱通徑:DN15~DN150結構形式:圓盤式公稱壓力:1.6MPa~2.5MPa~4.0MPa~6.4MPa連接方式:法蘭、內螺紋、承插
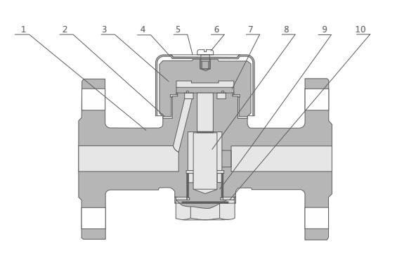
產品說明CS69H、CS19H圓盤式蒸汽疏水閥是利用熱動力學特性,當凝結水排流較低時會發生第二次蒸發,并在粘度、密封等方面與蒸汽方面存在差異驅動啟閉件。帶蒸汽或空氣保溫裝置,不受環境溫度影響,減少動作頻率,延長壽命。備有過濾器和排污。該閥動作靈敏可靠,排水量大。適用于高溫蒸汽主管線和過熱蒸汽管網的阻汽排水。結構特點CS69H、CS19H圓盤式蒸汽疏水閥結構合理、體積小、重量輕、安裝方便。不怕凍、耐水擊、耐過熱帶有不銹鋼過濾裝置、維護方便動作靈敏、密封性能好,使用壽命長。工作原理CS69H、CS19H圓盤式蒸汽疏水閥是利用蒸汽和凝結水通過閥孔時流速和體積產生變化的不同熱力學性質,驅動閥片開關閥座孔,從而達到阻汽排水。排量圖![]() 注:1、圖中曲線標注的編號(4,8,12等)代表相應工作壓差下的排量及閥座代號 2、壓差是指疏水閥的入口端與出口端的壓力差 結構分析圖![]() 主要零部件
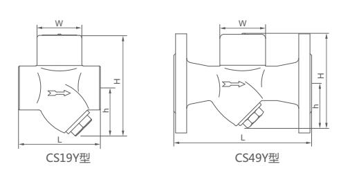
外形結構圖![]() 主要外形尺寸
主要外形尺寸
主要外形尺寸
主要外形尺寸
排量圖![]() 注:1、圖中曲線標注的編號(4,8,12等)代表相應工作壓差下的排量及閥座代號 2、壓差是指疏水閥的入口端與出口端的壓力差 結構分析圖![]() 主要零部件
外形結構圖![]() 主要外形尺寸
主要外形尺寸
|







關注官方微信