|
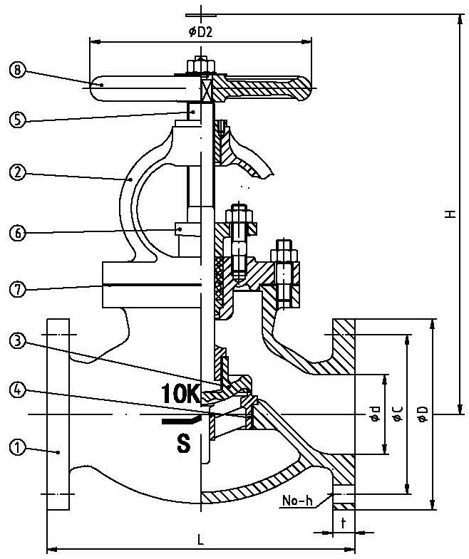
產品名稱:鑄鋼截止閥JIS F7319 10K
產品型號:JIS F7319 10K
產品口徑:50-300
產品壓力:10K
產品材質:SC450
產品口徑:50-300
產品壓力:10K
產品材質:SC450
Cast steel globe valve JIS F7319 10K
![]() Cast steel globe valve JIS F7319 10K
Standard Materials
|


關注官方微信