|
產品名稱:J11W不銹鋼內螺紋截止閥
產品型號:
產品口徑:DN6~DN40
產品壓力:16.0MPa~32.0MPa
產品材質:WCB、鑄鋼、碳鋼、不銹鋼
產品口徑:DN6~DN40
產品壓力:16.0MPa~32.0MPa
產品材質:WCB、鑄鋼、碳鋼、不銹鋼
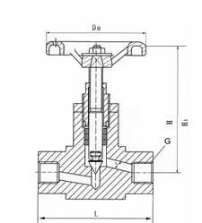
產品名稱:不銹鋼內螺紋截止閥 產品形號:J11W公稱通徑:DN6~DN40結構形式:截止式公稱壓力:16.0MPa~32.0MPa連接方式:內螺紋適用溫度:-29ºC~+550ºC
產品說明J11W不銹鋼內螺紋截止閥密封性良好,一般用于較小流量,適用于較高壓力的氣體或液體(如蒸汽、油品)介質的密封。使用壽命長,即使密封面損壞后,也只需要更換易損零件,即可繼續使用。廣泛用于石油、化工、電廠、冶金等行業。主要零部件材料
主要性能規范
外形結構圖![]() 主要外形及連接尺寸
|
|||||||||||||||||||||||||||||||||||||||||||||||||||||||||||||||||||||||||||||||||||||||||||||||||||||||||||||||||||||||||||||||||||||||||||||||


關注官方微信