|
產品名稱:DJ41Y低溫截止閥
產品型號:DJ41Y
產品口徑:DN15~DN300
產品壓力:1.6MPa~16.0MPa
產品材質:LCB碳鋼、LC3不銹鋼
產品口徑:DN15~DN300
產品壓力:1.6MPa~16.0MPa
產品材質:LCB碳鋼、LC3不銹鋼
產品名稱:低溫截止閥 產品型號:DJ41Y 公稱通徑:DN15~DN300結構形式:截止式公稱壓力:1.6MPa~16.0MPa連接方式:法蘭、焊接、螺紋適用溫度:-29ºC~-196&or
產品說明DJ41Y低溫截止閥適用于低溫液體貯運設備的管理系統,具有開關靈活、密封可靠的特點,也可用于其他低溫和深冷介質的管理系統。產品特點結構比閘閥簡單,制造與維修都較方便。密封面不易磨損及擦傷,密封性好,啟閉時閥瓣與閥體密封面之間無相對滑動,因而磨損與擦傷均不嚴重,密封性能好,使用壽命長。 啟閉時,閥瓣行程小,因而截止閥高度比閘閥小,但結構長度比閘閥長。 啟閉力矩大、啟閉較費力,啟閉時間較長。 流體阻力大,因閥體內介質通道較曲折,流體阻力大,動力消耗大。 介質流動方向 公稱壓力PN≤16MPa時,一般采用順流,介質從閥瓣下方向上流;公稱壓力PN≥20MPa時,一般采用逆流,介質從閥瓣上方向下流.以增加密封件能。使用時,截止閥介質只能單方向流動,不能改變流動方向。 全開時閥瓣經常受沖蝕。 執行標準
壓力試驗
主要性能范圍
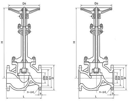
外形結構圖![]() 主要外形尺寸
|
||||||||||||||||||||||||||||||||||||||||||||||||||||||||||||||||||||||||||||||||||||||||||||||||||||||||||||||||||||||||||||||||||||||||||||||||||||||||||||||||||||||||||||||||||||||||||||||||||||||||||||||||||||||||||||||||||||||||||||||||||||||||||||||||||||||||||||||||||||||||||||||||||||||||||||||||||||||||||||||||||||||||||||||||||||||||||||||||||||||||||||||||||||||||||||||||||||||||||||||||||||||||||||||||||||||||||


關注官方微信