|
產品名稱:H14W,H14H不銹鋼螺紋止回閥
產品型號:H14W、H14H
產品口徑:DN15~DN80
產品壓力:1.6MPa~2.5MPa~4.0MPa~6.4MPa
產品材質:鑄鋼、不銹鋼
產品口徑:DN15~DN80
產品壓力:1.6MPa~2.5MPa~4.0MPa~6.4MPa
產品材質:鑄鋼、不銹鋼
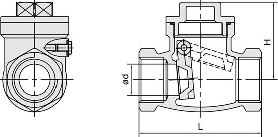
產品名稱:不銹鋼螺紋止回閥 產品型號:H14W、H14H 公稱通徑:DN15~DN80結構形式:旋啟式、立式公稱壓力:1.6MPa~2.5MPa~4.0MPa~6.4MPa連接方式:內螺紋適用溫度:-
產品說明H14W、H14H不銹鋼螺紋止回閥的功能是用來防止管路中的介質倒流。止回閥屬于自動閥類,啟閉件靠流動介質的力量自行開啟 或關閉。止回閥只用于介質單向流動的管路上,阻止介質回流,以防發生事故。 適用介質為:水、油品、蒸汽、酸性介質等。性能規范
主要零件材料
外形結構圖![]() 主要外形尺寸
|
||||||||||||||||||||||||||||||||||||||||||||||||||||||||||||||||||||||||||||||||||||||||||||||||||||||||||


關注官方微信