|
產品名稱:A22F-63T冷凍機用安全閥
產品型號:A22F-63T
產品口徑:DN8~DN32
產品壓力:1.6MPa~4.0MPa
產品材質:黃銅
產品口徑:DN8~DN32
產品壓力:1.6MPa~4.0MPa
產品材質:黃銅
產品名稱:冷凍機用安全閥 產品型號:A22F-63T 公稱通徑:DN8~DN32結構形式:彈簧式公稱壓力:1.6MPa~4.0MPa連接方式:外螺紋適用溫度:-29ºC~+180º
產品說明A22F-63T冷凍機用安全閥(中央空調用安全閥)是一種結構小巧,重量輕,適用于冷凍設備主機超壓保護的安全裝置;全身采用黃銅棒材加工而成,密封采用聚四氟乙烯F4材料,密封性能高,泄露量符合ANSI標準。整定壓力等級≤4.0MPa。產品特點1、整定壓力偏差小,可達±3%2、啟閉壓差≤15% 3、選用優質的彈簧鋼,保證彈簧的壽命和穩定性 4、全身采用黃銅棒材加工而成 5、全啟式結構,排量大 6、密封采用聚四氟乙烯F4材料,密封性能高 7、鹵素檢測試驗≤0.1盎司/年 執行標準設計規范:ANSI/ASHRAE15結構長度:ANSI 試驗與檢驗:ANSI 產品標識:GB/T 12220 供貨規范:JB/T 7928 額定排量
性能參數
主要零件材料
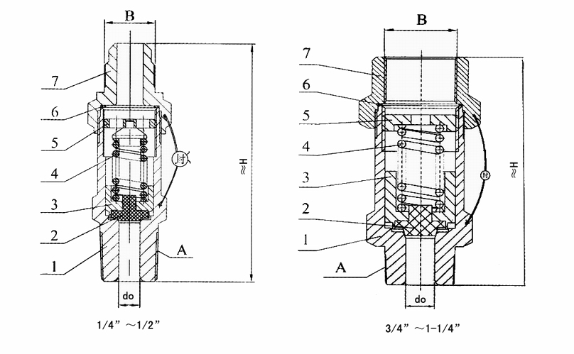
外形結構圖![]() 主要外形尺寸
|
|||||||||||||||||||||||||||||||||||||||||||||||||||||||||||||||||||||||||||||||||||||||||||||||||||||||||||||||||||||||||||||||||||||||||||||||||||||||


關注官方微信