|
產品名稱:GM真空隔膜閥
產品型號:G61F
產品口徑:DN10~DN50
產品壓力:真空負壓0.1MPa
產品材質:鑄鋼、不銹鋼
產品口徑:DN10~DN50
產品壓力:真空負壓0.1MPa
產品材質:鑄鋼、不銹鋼
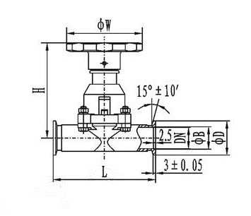
產品名稱:真空隔膜閥 產品型號:G61F 公稱通徑:DN10~DN50結構形式:隔膜式公稱壓力:真空負壓0.1MPa連接方式:活套法蘭、快卸法蘭、焊接適用溫度:-29ºC~+180º
產品說明GM真空隔膜閥是利用閥桿將橡膠膜直接壓在閥座上,用來截止或接通真空系統。采用連接形式有活套法蘭連接、快卸法蘭連接、焊接式連接。焊接式連接又分焊接式I型連接(即兩端焊接),焊接式II型連接(即一端焊接,另一端插入)。適用的工作介質為空氣及非腐蝕性氣體。技術性能
外形結構圖![]() 活套法蘭連接及外形尺寸
外形結構圖![]() 快卸法蘭(KF)連接及外形尺寸
外形結構圖![]() 焊接式主要外形尺寸
|




關注官方微信