|
產品名稱:AVAX自動排氣閥
產品型號:AVAX
產品口徑:DN10~DN15~DN20~DN25
產品壓力:1.6MPa
產品材質:黃銅、不銹鋼
產品口徑:DN10~DN15~DN20~DN25
產品壓力:1.6MPa
產品材質:黃銅、不銹鋼
產品名稱:自動排氣閥 產品型號:AVAX 公稱通徑:DN10~DN15~DN20~DN25結構形式:浮球式公稱壓力:1.6MPa連接方式:外螺紋適用溫度:-15ºC~+100ºC驅
產品說明AVAX自動排氣閥主要應用于暖通空調系統,往往安裝在制高點或彎頭等處,以排除管道中多余氣體、提高管道路使用效率及降低能耗。并消除氣阻,防止水流量減小而引起的冷熱不均等現象。工作原理當系統中有氣體產生時,由于氣體的密度比水小,氣體會順著管道向上走,最終聚集在系統的高點,所以自動排氣閥一般都安裝在系統高點,在這里自動排氣閥的排氣效率最高。當氣體進入自動排氣閥閥腔聚集在自動排氣閥的上部,隨著閥內氣體的增多,氣體壓力上升。當氣體壓力大于系統壓力時,氣體會使腔內水面下降,浮筒隨水位一起下降,排氣口打開開始排氣;隨著氣體排出,氣壓降低,水位上升,浮筒也隨之上升,排氣口關閉。工作原理圖![]() 1、當沒有氣體時,浮子將會上升,機械機構保證銷針關閉排氣口。 2、當有氣體聚集時,浮子下降,銷針打開閥門,使氣體排出直到氣體排盡。 3、當系統中有氣體溢出時,氣體會順著管道向上爬,最終聚集在系統的最高點,而自動排氣閥一般都安裝在系統最高點,當氣體進入排氣閥閥腔聚集在排氣閥的上部,隨著閥內氣體的增多,壓力上升,當氣體壓力大于系統壓力時,氣體會使腔內水面下降,浮筒隨水位一起下降,打開排氣口;氣體排盡后,水位上升,浮筒也隨之上升,關閉排氣口。 4、同樣的原理,當系統中產生負壓,閥腔中水面下降,排氣口打開,由于此時外界大氣壓力比系統壓力大,所以大氣會通過排氣口進入系統,防止負壓的危害。如擰緊自動排氣閥閥體上的閥帽,自動排氣閥停止排氣,通常情況下,閥帽應該處于開啟狀態。 應用領域廣泛應用于水處理設備、化工設備、石化設備、石油設備、造紙設備、采礦設備、電力設備配套、液化氣設備、食品設備、制藥設備、給排水設備、市政閥門、機械設備閥門、電子工業閥門,城建閥門、工業管道閥門、通用零部件、工業設備、消防暖通、中央空調、過濾設備、冶金設備、輕紡設備.環保設備等領域。改進特點1、普通排氣閥無內置過濾網,雜質易堵塞排氣嘴,設計不合理,彈簧有疲勞損,時間長了封不嚴,易漏水。2、改進型暖氣自動排氣閥內置過濾網防止雜質進入排氣嘴,優質產品的重量是劣質產品質量的2倍。(需訂購) 3、質量可靠,性能穩定,一年免費更換,杜絕國產品牌排氣又排水的情況產生。 細節說明
壓力試驗
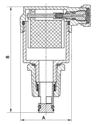
外形結構圖![]() 主要外形尺寸
安裝方式1、自動排氣閥必須垂直安裝,必須保證閥體內浮筒處于豎直狀態,不能水平或倒立安裝;由于氣體密度比水小,會沿著管道一直爬到系統最高點并聚集在此,為了提高排氣效率,排氣閥一般都安裝在系統的最高點; 2、為了便于檢修,排氣閥一般跟隔斷閥一起使用,這樣拆卸排氣閥是不需要關停系統; 暖氣排氣閥安裝好后必須擰松防塵帽才能排氣,但不能完全取掉,萬一發生排氣閥漏水,可擰緊防塵帽。
|







關注官方微信