|
產品名稱:BY41H保溫過濾器
產品型號:BY41H
產品口徑:DN40~DN450
產品壓力:
產品材質:鑄鋼、不銹鋼
產品口徑:DN40~DN450
產品壓力:
產品材質:鑄鋼、不銹鋼
產品名稱:保溫過濾器 產品型號:BY41H 公稱通徑:DN40~DN450濾網材料:不銹鋼工作壓力:1.6MPa~6.4MPa連接方式:法蘭適用溫度:-20ºC~+450ºC功能作
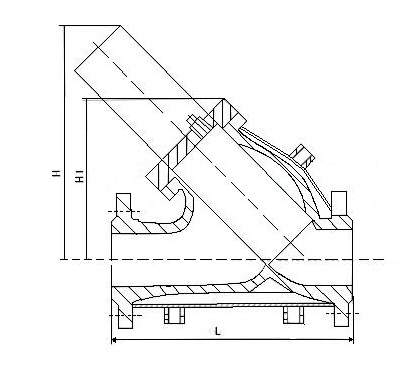
產品說明BY41H保溫過濾器是用于水、油、氣、瀝青等管路和各種設備上不可缺少的一種保溫裝置,通常安裝在減壓閥、泄壓閥、定水位器或其它設備的進口端,用來清除介質中的雜質,以保護閥門及設備的正常使用。保溫過濾器具有結構簡單,阻力小,排污方便等優點。在閥體外部焊裝有金屬夾套,并設有夾套接口,可涵入蒸氣或其它過熱氣體,以保護閥內介質不會在常溫下凝固或結晶。同一規格口徑的情況下,保溫型過濾器的連接尺寸要比Y型過濾器大一到兩個規格。結構特點1、保溫過濾器具有結構簡單,阻力小,排污方便等優點。2、在閥體外部焊裝有金屬夾套,并設有夾套接口。 3、可涵入蒸氣或其它過熱氣體,以保護閥內介質不會在常溫下凝固或結晶。 性能規范:
外形結構圖![]() 主要外形尺寸
|
|||||||||||||||||||||||||||||||||||||||||||||||||||||||||||||||||||||||||||||||||||||||||||||||||||


關注官方微信