|
產品名稱:GL41H蒸汽管道過濾器
產品型號:GL41H
產品口徑:DN15~DN500
產品壓力:
產品材質:鑄鐵、鑄鋼、不銹鋼
產品口徑:DN15~DN500
產品壓力:
產品材質:鑄鐵、鑄鋼、不銹鋼
產品名稱:蒸汽管道過濾器 產品型號:GL41H 公稱通徑:DN15~DN500結構形式:Y型工作壓力:1.6MPa~16.0MPa連接方式:法蘭、內螺紋適用溫度:-20ºC~+450&ord
產品說明GL41H蒸汽管道過濾器主要應用于口徑較小的管道設備,連接拆卸方便,排污性能可靠,經濟適用。是輸送介質的管道系統不可缺少的一種裝置,通常安裝在減壓閥、泄壓閥、定水位閥等水力控制閥或其它設備的進口端,用來清除介質中顆粒性雜質,免受因管道內雜質、鐵銹、焊屑等帶來的堵塞和損壞,從而避免了維修費用和生產損失,保護閥門等設備的正常使用。主要用于水、蒸氣等介質。結構特點1、采用不銹鋼雙層網結構,堅固耐用,2、具有結構先進、流阻小、排污方便、納污量大等等特點, 3、使用維護極為方便??筛鶕脩粜枰O置過濾網的目數。 濾網目數
技術參數
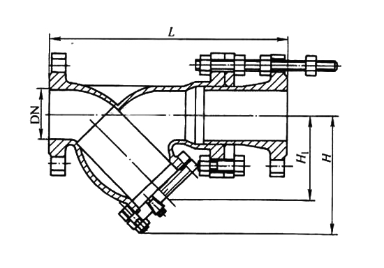
外形結構圖![]() 主要外形尺寸
外形結構圖![]() 使用說明本過濾器由殼體、排污蓋、濾芯、濾網等組成。網眼總面積是入口管首截面積的3-4倍。用于管道清除輸送介質:熱水、冷水、蒸汽、壓縮空氣各種機械雜質,特別是鍋爐房循環水泵前均需安此產品,為了清除系統中的機械雜質,使設備和管道免受堵塞和磨損,在額定流速下壓損為0.05-0.1米水柱。 用于各種用汽設備,如:蒸汽儀表、疏水閥,壓縮空氣和各類用汽設備前均需安裝。在額定流速下壓損為0.05-0.2米水柱。 油過濾器該主品濾眼密度有多種。例如:64孔、200孔、300孔/Cm2。用于各種輸油管道上一切設備。例如:油泵、油鍋爐前均需安裝,在額定流速下壓損為0.05-0.1米水柱。
|
||||||||||||||||||||||||||||||||||||||||||||||||||||||||||||||||||||||||||||||||||||||||||||||||||||||||||||||||||||||||||||||||||||||||||||||||||||||||||||||||||||||||||||||||||||||||||||||||||||||||||||||||||||||||||||||||||||||||||||||||||||||||||||||||||||||||||||||||||||||||||||||||||||||||||||||||||||||||||||||||||||||||||||||||||||||||||||||||||||||



關注官方微信